



The Vertical Coin Counting Tube (U.S. Patent 3,071,243), granted on January 1, 1963, to Robert T. Allen, is a precision device designed for the rapid and accurate counting of coins in a vertical stack. Unlike traditional flat trays, this tube uses gravity and a unique interior geometry to ensure that only a specific, predetermined number of coins can occupy each section.
The Problem: “Thickness Loss” and Inaccuracy
One of the biggest hurdles in vertical coin counting is that coins wear down over time.
- The Variance: A stack of 50 well-worn pennies is significantly shorter than a stack of 50 newly minted ones.
- The Error: In a standard straight tube, this cumulative “thickness loss” eventually creates enough empty space for an extra coin to sneak in, leading to an inaccurate count.
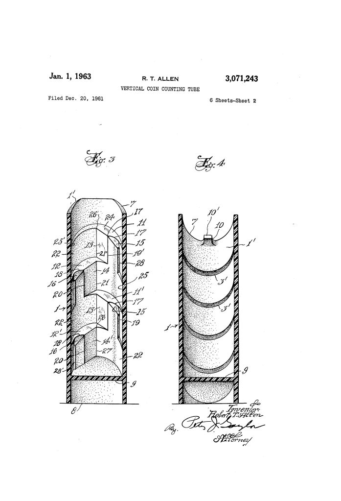
The Innovation: The Stepped and Ledged Design
Robert Allen solved the accuracy problem by breaking the tube into stepped sections (usually holding 5 coins each) and using staggered internal ledges.
1. Incrementally Stepped Sections
The tube is not a straight cylinder; it is composed of sections (2, 2′, 2”) that are stepped forward and slanted at a 45° angle.
- Resetting the Stack: Because each section starts a “new” mini-stack, the wear-and-tear thickness loss is absorbed section by section. The error doesn’t have the chance to accumulate across the entire tube.
2. Staggered Interior Ledges
This is the most critical feature. Each section boundary contains a small protruding ledge (11, 12).
- Staggered Placement: The ledges alternate from the left side to the right side as you move up the tube.
- How it Counts: When a section is accurately filled with the counted number (e.g., 5 coins), the “extra” (6th) coin cannot sit flat. Its edge hits the ledge, forcing it to tilt in the opposite direction.
- Visual Indicator: This tilting action guides the next set of coins into their proper position and prevents an extra coin from “filling in” the gaps created by worn coins.
Key Design Features
| Feature | Function |
| Slanted Bottom (9) | Sets the initial 45° angle for the first coin, ensuring the “tilting” geometry works from the start. |
| Vertical Balancing Fin (4) | Because the stepped design shifts the weight forward, this fin keeps the tube from tipping over. |
| Top Lip (10/31) | A small protrusion at the very top that blocks any extra coins from entering once the full count (e.g., a roll of 50) is reached. |
| Observation Slots (30) | Long vertical cuts that allow the user to see the coins and use a stylus to clear any rare jams. |
Versions and Variations
Allen included several variations in his patent to make the device more versatile:
- The Wrapper Loader: One version featured a thinner bottom wall (49) designed to hold a standard paper coin wrapper (50). Once the tube was filled, the user could slide a bottom plate (9), and the coins would drop directly into the wrapper.
- The Snap-Cap (Fig 16): A version that could be capped at both ends, allowing it to serve as both a counter and a heavy-duty storage container for transport to a bank.
Significance
Before this invention, accurate counting required bulky edge-counting trays or expensive mechanical sorters. Allen’s tube provided a portable, low-cost, and “foolproof” manual solution—perfect for bus drivers, toll booth operators, and small businesses who needed to roll coins quickly without a machine.
