



Two-Cycle Gas Engine, Frederick M. Jones (1947)
Patented in March 1947, this invention by the legendary Frederick McKinley Jones (U.S. Patent No. 2,417,253) addressed the chronic inefficiency of the mid-century two-cycle engine. Jones, a self-taught engineering genius and co-founder of Thermo King, was already famous for revolutionizing the transport of perishable goods. Here, he turned his focus to the engine itself, seeking a design that was powerful, compact, and remarkably simple.
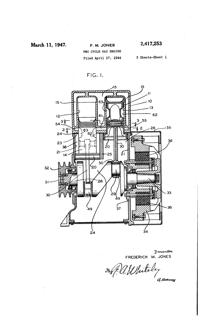
Jones’s Two-Cycle Gas Engine is a “valveless” masterpiece. By using the movement of the pistons themselves to open and close gas passages, he eliminated the complex cams, springs, and valves that typically fail in high-speed engines. This design provided a smoother, more reliable power source for the refrigeration units that kept the world’s food fresh during transit.
The “Why”
In 1944, two-cycle engines were often unreliable. They suffered from “frictional losses” because their gas passages were too small and twisted, and they struggled to fully “scavenge” (clear out) exhaust gases before the next explosion.
- The Problem: Poor gas flow and inefficient compression led to weak power and wasted fuel.
- The Solution: Jones designed a multi-cylinder engine where the cylinders “help” each other. One cylinder compresses the fuel mixture for the other, using wide, straight “unitary gas chambers” to maximize speed and efficiency.
Inventor Section: Engineering Philosophy
Frederick M. Jones’s philosophy was Functional Simplicity. He believed that if a part doesn’t exist, it can’t break. By transforming the Piston (13, 14) into a sliding valve, he removed the need for an independent valvetrain. His design focused on “large cross-sectional areas”—essentially making the engine’s “airways” as wide as possible to allow the gases to breathe without resistance.
Key Systems Section
1. The Valveless Piston Control
This is the core of the invention: the pistons do the work of the valves.
- Indented Pockets (62, 63, 72): Jones carved specific recesses or “pockets” into the sides of the pistons.
- The Logic: As the piston slides up and down, these pockets align with ports in the cylinder walls at precise moments.
- The Result: This opens a path for the fuel mixture to move from the compression chamber to the explosion chamber without needing a single mechanical valve.
2. The Compound Compression Piston
Jones used a “two-tier” piston design to boost power.
- Enlarged Section (20): The bottom of the piston is wider than the top.
- Annular Chamber (38): This creates a ring-shaped chamber around the piston. As the piston moves down on its power stroke, it simultaneously “pre-compresses” the next charge of gas in this lower chamber.
- Efficiency: This “compound” action means every stroke is doing double duty—generating power and preparing the next explosion simultaneously.
3. High-Speed Scavenging & The Baffle
One of the biggest hurdles in two-cycle engines is “scavenging”—pushing out the old smoke while bringing in new fuel.
- The Baffle (73): Jones added a uniquely shaped “wall” on top of the piston.
- Curved Front Wall (74): When the new gas enters, this curve directs it upward and away from the exhaust port.
- The Sloping Face (77): This side directs the old exhaust gases straight out the large exhaust ports (17, 18).
- The Benefit: This prevents the fresh fuel from simply blowing out the exhaust pipe, a common flaw in older two-cycle designs.
4. The Unitary Gas Passageway
Instead of a maze of small pipes, Jones used “common passageways.”
- Common Passageway (64): A single, wide, shallow chamber connects the cylinders.
- Direct Flow: Because the passage is “short and arc-like,” the gas moves between cylinders with almost zero friction. This allows the engine to run at much higher RPMs without losing power.
Comparison Table: Standard 1940s Engine vs. Jones’s Two-Cycle
| Feature | Typical Two-Cycle Engine | Frederick Jones’s Engine |
| Valve System | Mechanical valves (cams/springs). | Valveless (Piston-controlled). |
| Gas Passages | Small, twisted, high-friction. | Wide, straight, “Unitary” chambers. |
| Piston Type | Simple cylinder. | Compound (Integrated compression). |
| Exhaust Efficiency | Poor (mixing of fuel/smoke). | Superior (via Curved Baffle). |
| Maintenance | High (valve adjustments). | Very Low (fewer moving parts). |
Significance
Frederick M. Jones’s engine was a vital component of the Thermo King success story:
- Reliability for Transport: Refrigerated trucks needed engines that could run for days without stopping. Jones’s valveless design was incredibly robust against vibration and wear.
- Power-to-Weight: By making the engine “unitary” and eliminating heavy valvetrains, he produced more power in a smaller, lighter package—essential for mounting on the front of a truck trailer.
- Industrial Impact: This engine proved that two-cycle designs could be “industrially marketable” and efficient, paving the way for modern small-engine technology used in everything from generators to marine motors.
Final Insight: Frederick M. Jones once said, “The best way to get something done is to do it yourself.” By redesigning the engine from the ground up, he didn’t just fix a cooling problem; he redefined the mechanical efficiency of the era.
