



Refrigeration Defrosting Control System, Frederick M. Jones (1950)
Patented on May 23, 1950, this invention (U.S. Patent No. 2,509,099) solved one of the most persistent problems in industrial and transport refrigeration: frost accumulation.
In the 1940s, refrigeration units often failed because ice would build up on the evaporator coils, acting as insulation and preventing the unit from cooling. Manual defrosting was labor-intensive, and early automated timers were “blind”—they stayed on for a set time regardless of whether the ice was gone, often heating up and spoiling the frozen cargo. Jones’s system was revolutionary because it was hybrid: it started with a timer but ended based on actual temperature.
The “Why”
- The Insulation Problem: Frost acts as a thermal barrier. As it thickens, the refrigeration unit has to work harder and harder to achieve less cooling.
- The “Blind Timer” Risk: If a defrost cycle is set for 30 minutes but the ice melts in 10, the heater stays on for an extra 20 minutes. In a truck full of ice cream or frozen meat, this extra heat leads to thawing and spoilage.
- The Moisture Trap: After defrosting, if the fans turn back on immediately, they blow “mist” and water droplets back onto the food before the coils are cold enough to freeze them.
The Solution: Jones created a system where a clock starts the defrost, a thermostat stops the heat as soon as the ice is gone, and a delay ensures the coils are “pre-cooled” before the fans move any air.
Key Systems Section
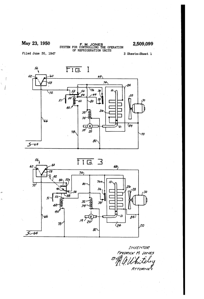
1. The Hot Gas Defrost Loop
Instead of using slow electric coils to melt ice, Jones used the refrigeration system’s own heat.
- The Diverter: A solenoid valve (20) opens a bypass line (19).
- The Heat Source: High-pressure “hot gas” from the compressor is pumped directly into the evaporator coils (10). This melts the ice from the inside out, which is much faster and more efficient than external heating.
2. The Hybrid Control Logic
This is the “brain” of the patent. It uses two different triggers to manage the cycle:
- Initiation (Time): A 24-hour clock (56) triggers the defrost at specific times (e.g., once every 8 hours).
- Termination (Temperature): A bimetallic thermostat (36) is mounted directly on the evaporator fins. As long as there is ice, the temperature stays near freezing (32F). The moment the ice disappears, the temperature of the metal spikes. The thermostat senses this and immediately shuts off the hot gas, even if the timer still has minutes left.
3. The “Drip-Pan” Heater
Jones realized that big chunks of ice falling off the coils wouldn’t melt instantly and could clog the drain.
- The Solution: He placed an electric resistance heater (26) inside the collection container (24) below the coils. This heater only turns on during the defrost cycle to ensure all ice is liquefied and sent out the drain pipe (25) before it can refreeze.
The Operational Sequence
| Phase | Duration | Status of Valve (Heat) | Status of Fan (Air) | Goal |
| Normal Cooling | Hours | Closed | ON | Cool the cargo space. |
| Defrost Start | Triggered by Clock | OPEN | OFF | Melt ice without blowing heat on food. |
| Defrost End | Triggered by Thermostat | Closed | OFF | Stop heating as soon as metal is clear. |
| Pre-Cooling | 2–5 Minutes | Closed | OFF | Re-freeze any lingering drops on the coil. |
| Resume Cooling | Continuous | Closed | ON | Return to normal operation. |
Technical Components: The Jones Control Box
The patent includes a detailed mechanical “Programmer” (Figs 4 & 5). This was a sophisticated mechanical computer for its time:
- Dial (98): A 24-hour wheel with adjustable pins.
- Relay (40): An electromagnetic switch that “remembers” the thermostat’s signal to stay off until the timer resets.
- Synchronous Motor: Ensures the defrosting happens at the same time every day (e.g., during a driver’s break).
Significance
This patent was a cornerstone for U.S. Thermo Control (Thermo King). It allowed for:
- Long-Haul Transport: Trucks could travel for days across the country without the driver needing to manually clear ice.
- Food Safety: By preventing “over-heating” during defrost, it maintained a much tighter temperature range, essential for the burgeoning frozen food industry.
- Reliability: The automatic disposal of meltwater prevented the “ice-dam” failures that plagued earlier systems.
Final Insight: Jones didn’t just build a better cooler; he built a smarter one. By making the machine “aware” of its own temperature, he bridged the gap between simple automation and intelligent control.
