
Safety Attachment for Automotive Vehicles: Robert Lee (Patent No. 2,132,168)
The patent by Robert Lee of Savannah, Georgia, describes a Safety Attachment for Automotive Vehicles (Patent No. 2,132,168), granted on October 4, 1938. This invention is a mechanical “blow-out control” system designed to maintain steering stability during a sudden tire failure. By automatically locking the steering tie bar in a neutral position the moment a front tire loses pressure, Lee’s device prevents the violent swerving that typically causes a vehicle to flip or veer into oncoming traffic.
The “Why”
In the late 1930s, automotive tires were prone to explosive failures (blow-outs). When a front tire deflated suddenly, the radius of that wheel decreased, causing the vehicle to “drop” and pull violently toward the side of the failure. The primary “pain point” was the uncontrollable shifting of the steering tie bar, which pulled the steering knuckles out of the driver’s hands. Lee sought to create an automatic mechanical “anchor” that would sense the drop in axle height and instantly freeze the steering geometry to keep the car traveling straight.
Inventor Section: Robert Lee
Robert Lee was an inventor focused on emergency kinetic management. His engineering philosophy was centered on passive-to-active transitioning. He designed a system that remained completely dormant during normal operation but was “armed” by the physical presence of air in the tires. His use of a “trip wheel” (65) as a biological sensor—mimicking a feeler—demonstrates a sophisticated approach to automation before the era of electronic sensors.
Key Systems Section
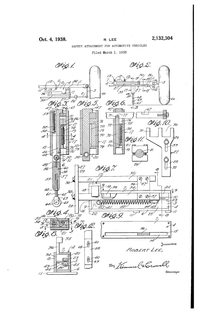
1. The Gravity-Triggered Trip Wheel (65)
Each unit is mounted to the front axle (1) and features a small rotatable “trip wheel” (65) suspended just inches above the road surface.
- Modern Term: Mechanical Proximity Sensor.
- Under normal conditions, the trip wheel does not touch the ground. When a blow-out occurs, the axle drops, the trip wheel hits the pavement, and the resulting upward force unlatches the safety mechanism.
2. The Spring-Controlled Retainer Element (27)
Once the trip wheel is triggered, it releases a heavy-duty sliding rod (34) powered by a coiled controlling spring (42).
- Modern Term: Pre-Loaded Linear Actuator.
- This rod projects a “retainer element” (27) or “head” (29) that physically reaches out to intercept the steering connections.
3. The Tie-Bar Abutment (26)
An “abutment” (26) is clamped directly onto the vehicle’s steering tie bar (the rod connecting the two front wheels).
- Modern Term: Steering Rack Limiter.
- When the retainer element (27) is projected, it traps the abutment. This prevents the tie bar from shifting left or right, effectively locking the wheels in a forward-facing position.
4. The Dual-Stage Latching Structure
The system uses two distinct latches: a “Nose” (47) to hold the device in the inactive position, and a “Latching Member” (70) to lock it in the active position once triggered.
- Modern Term: Double-Action Safety Lock.
- This ensures that once the device has “caught” the steering to prevent a swerve, it cannot be accidentally pushed back into a dormant state by the force of the steering wheel.
Comparison Table
| Feature | Standard 1938 Steering | Lee’s Safety Attachment |
| Blow-out Response | Vehicle swerves violently; driver loses control. | Steering is mechanically locked in a neutral path. |
| Activation | Manual (Driver’s reaction time). | Automatic (Axle-drop triggered). |
| Mechanism | Open-loop tie bar. | Closed-loop retainer lock. |
| Safety Logic | Dependence on pneumatic stability. | Mechanical redundancy for pneumatic failure. |
Significance Section
- Early Driver Assistance: This device is a mechanical ancestor to modern Electronic Stability Control (ESC) and Lane Keep Assist, which use sensors to correct steering during traction loss.
- Vertical-to-Horizontal Translation: Lee’s design brilliantly translated the vertical drop of a blown tire into a horizontal locking force for the steering.
- Universal Fitting: By including adjustable grooves (30, 31) in the retainer head, Lee ensured his device could be installed on various vehicle makes with different tie-bar heights.
- Collision Mitigation: By preventing a vehicle from crossing the center line or exiting the road surface during a blow-out, this device addressed the primary cause of high-speed fatalities in the early motor age.
