

Remote Control Apparatus: James Matthew Allen (Patent No. 2,085,624)
The patent by James Matthew Allen of Washington, D.C., describes a Remote Control Apparatus (Patent No. 2,085,624), granted on June 29, 1937. This invention is an automated timing system designed to control the power supply of a radio receiver. By integrating a clockwork mechanism with a specialized cam and knife switch, Allen created a device that could “program” a radio to turn on for a specific broadcast and turn off automatically, essentially serving as an early mechanical precursor to the modern “sleep timer” and “scheduled task” functions in electronics.
The “Why”
In the 1930s, the “Golden Age of Radio,” listeners had to manually operate heavy vacuum-tube sets, which consumed significant power and required time to warm up. A primary “pain point” was the lack of scheduling; if a listener fell asleep or left the house, the radio remained on indefinitely, wasting electricity and wearing out expensive tubes. Allen’s invention solved the need for autonomous power management, allowing users to capture specific broadcasts without being physically present to flip a switch.
Inventor Section: James Matthew Allen
James Matthew Allen was an African American inventor working in the nation’s capital during the pre-WWII era. His engineering philosophy focused on precision automation and accessibility. At a time when electronics were becoming a staple of the American home, Allen looked for ways to make high-tech devices more “user-friendly” and efficient. His work represents a sophisticated bridge between 19th-century horology (clockmaking) and 20th-century electronic control systems.
Key Systems Section
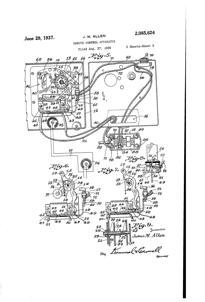
1. The Differential Profile Cam
The “brain” of the device is the cam (20), which is driven by the clock train. Unlike a standard alarm clock that merely triggers a bell, this cam features a “high edge part” (34) and a “lower edge part” (35).
- Modern Term: Mechanical Logic Controller.
- The transition between the high and low profiles determines the “On/Off” state of the circuit based on the rotation of the clock gears.
2. The Spring-Actuated Depressor Member
A pivoted member (14) follows the profile of the cam. It features a “nose” (18) that interacts with an inclined abutment on a resilient shifting element.
- Modern Term: Mechanical Actuator / Linkage.
- This translates the rotating motion of the clock into the vertical motion required to physically move a heavy-duty electrical switch.
3. The Bypassing Knife Switch Assembly
The apparatus uses a knife switch (57) with a blade (60) that is physically lifted or lowered by the shifting element (48).
- Modern Term: High-Current Toggle Interrupter.
- To ensure the radio could still be used normally, Allen included a parallel manual switch (70), allowing the user to bypass the timer—a fundamental principle in user-interface design.
4. Integrated Volume Attenuation
The patent describes a secondary control (95) connected via a cable to the radio’s internal volume control.
- Modern Term: Remote Potentiometer / Secondary Gain Control.
- This allowed the user to not only control when the radio played but also how loud it played from a distance, predating modern wired remote controls.
Comparison Table
| Feature | Standard Radio Operation (1930s) | Allen’s Innovation |
| Power Control | Manual toggle switch on the chassis. | Scheduled “Auto-On/Auto-Off” via clockwork. |
| Circuit Safety | Risk of overheating if left on. | Automatic cutoff at end of program period. |
| User Interaction | Physical presence required at the dial. | Remote volume and power scheduling. |
| Complexity | Basic electrical circuit. | Integrated mechanical-electrical logic gate. |
Significance Section
- Early Home Automation: One of the earliest documented American patents for a consumer-facing “smart” home device.
- Energy Conservation: By automating the “power-down” phase, the device was an early tool for reducing household energy waste.
- Precursor to Digital Scheduling: The use of a cam to “program” an event is the mechanical ancestor of the modern digital BIOS timers and smart plugs used today.
- Human-Centric Design: The inclusion of a manual override (Switch 70) shows a sophisticated understanding of ergonomics, ensuring the automation never “trapped” the user.
