


Refrigeration Control Device, Frederick M. Jones (1952)
Patented on January 8, 1952 (U.S. Patent No. 2,581,956), this invention by the prolific engineer Frederick McKinley Jones solved a critical problem in the transport refrigeration industry: the “starting overload.”
In large refrigeration systems (like those on trucks or ships), if the unit has been off for a long time in the heat, the refrigerant in the evaporator turns into high-pressure gas. When the engine or motor tries to start, this pressure creates a massive resistance against the compressor. This “overload” often caused engines to stall, starting motors to burn out, or fuses to blow. Jones’s device acts as an intelligent “gatekeeper” that protects the system during startup and extreme heat conditions.
The “Why”
- Protection of Prime Movers: Prevents internal combustion engines or electric motors from being damaged by trying to start against a high-pressure head of gas.
- Universal Compressor Use: It allowed manufacturers to use the same compressor for deep-freeze, moderate cooling, and air conditioning by simply adjusting the control device’s pressure settings.
- Automatic Load Shedding: If an engine begins to labor or overheat, the device automatically “unloads” the compressor, allowing the engine to recover without stopping the entire unit.
Key Systems Section
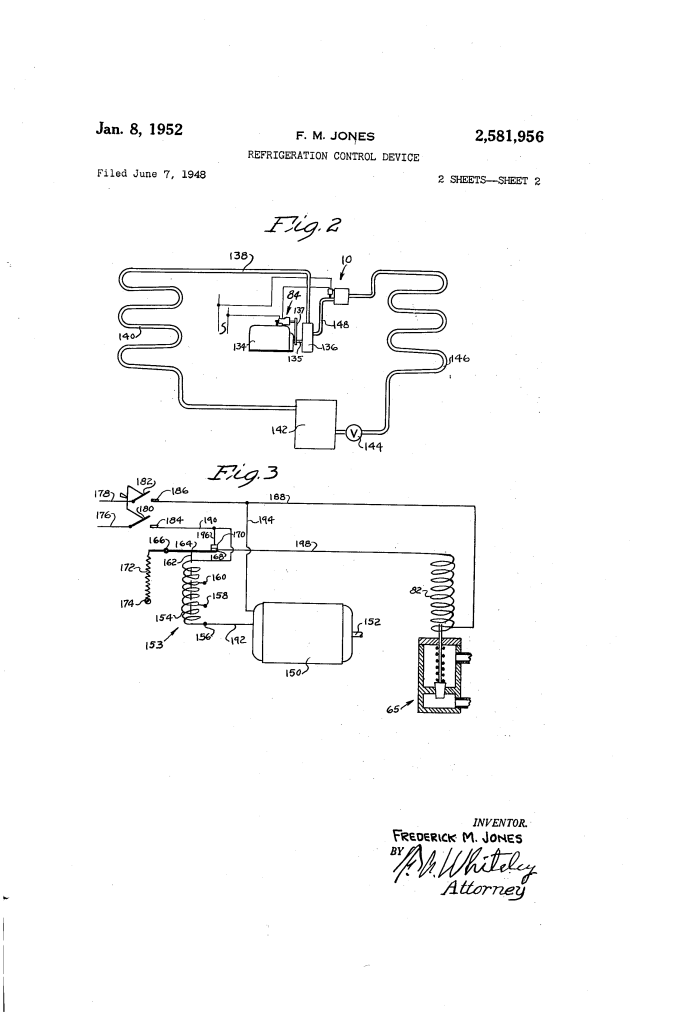
1. The Piston Valve Mechanism
Instead of a simple flap, Jones used a piston (41) housed in a cylindrical chamber (34).
- The Seal: The piston features a specialized rubber gasket (48) that creates a perfectly tight seal against the valve seat.
- Pneumatic Balance: Small passages (36) allow high-pressure gas from the inlet to enter the space above the piston. This uses the system’s own pressure to keep the valve slammed shut during startup.
2. The Pilot Valve (Auxiliary Control)
This is the “brain” of the device. An auxiliary solenoid valve (65) is connected to a bypass line.
- Startup Phase: The solenoid remains closed. Pressure builds above the main piston, keeping it locked.
- Running Phase: Once the engine reaches full speed, the solenoid opens. This vents the high pressure from the top of the piston into the outlet.
- Balance: With the pressure equalized on both sides, the piston can now be easily moved by a light spring and bellows, allowing the refrigerant to flow normally.
3. The Governor and Switch
Jones linked the control device directly to the “health” of the engine using a centrifugal governor (84).
- Speed Sensing: Weights (96, 98) spin with the engine shaft.
- The Threshold: Only when the engine reaches ~80% of its rated speed do the weights move far enough to flip a switch (118).
- The Result: Closing this switch energizes the solenoid pilot valve, finally “loading” the compressor only after the engine is strong enough to handle it.
Component & Operation Table
| Component | Part # | Function |
| Piston Valve | 41 | The main gate that stops or starts refrigerant flow. |
| Bellows | 52 | A pressure-sensitive diaphragm that fine-tunes the valve opening. |
| Solenoid Valve | 65 | An electrical “trigger” that exhausts the pressure holding the piston shut. |
| Governor | 84 | Prevents the system from loading until the engine is at safe RPM. |
| Relay (Electric) | 153 | An alternative to the governor for systems driven by electric motors. |
Significance
Frederick M. Jones’s patent was a landmark in automated climate control:
- System Reliability: It transitioned refrigeration from a manual, high-maintenance process to an automated, “set it and forget it” system.
- Efficiency: By ensuring the compressor only worked within its “safe zone,” it extended the life of transport refrigeration units by years.
- Jones’s Innovation: As a self-taught engineer and the co-founder of Thermo King, this patent was one of dozens that allowed for the global long-distance transport of perishable food, fundamentally changing how the world eats.
Final Insight: Jones essentially gave the refrigeration unit a “nervous system.” By allowing the engine to “tell” the compressor when it was ready to work, he eliminated the number one cause of mechanical failure in the industry.
