


Refrigerating Method and Apparatus: David N. Crosthwait, Jr. (Patent No. 1,972,705)
The patent by David N. Crosthwait, Jr. of Marshalltown, Iowa (assigned to C.A. Dunham Company) describes a Refrigerating Method and Apparatus (Patent No. 1,972,705), issued on September 4, 1934. This invention is a high-efficiency, closed-cycle refrigeration system that utilizes a high-pressure vapor jet to create cooling, eliminating the need for complex mechanical compressors.
The “Why”
In the early 1930s, refrigeration was often loud, expensive, and mechanically complex. Standard systems relied on reciprocating compressors with many moving parts prone to wear and leakage. Furthermore, many refrigerants of the era were toxic; if a seal failed, the results could be lethal. Crosthwait sought to solve these “pain points” by designing a hermetically sealed system with almost no moving parts. He aimed to increase thermal efficiency by using the “power fluid” (vaporized refrigerant) itself to drive the cooling cycle, making refrigeration safer and more reliable for domestic use.
Inventor Section: David N. Crosthwait, Jr.
David Nelson Crosthwait, Jr. was a pioneer in heat transfer and fluid dynamics and one of the most significant Black engineers in American history. Holding over 39 patents, his engineering philosophy was centered on systemic optimization—getting the maximum amount of work out of a single fluid cycle. Crosthwait was the first Black person to be honored as a fellow of the American Society of Heating, Refrigerating and Air-Conditioning Engineers (ASHRAE). His work on the heating system for New York’s Rockefeller Center and this refrigeration patent proved his mastery over complex, large-scale thermal environments.
Key Systems Section
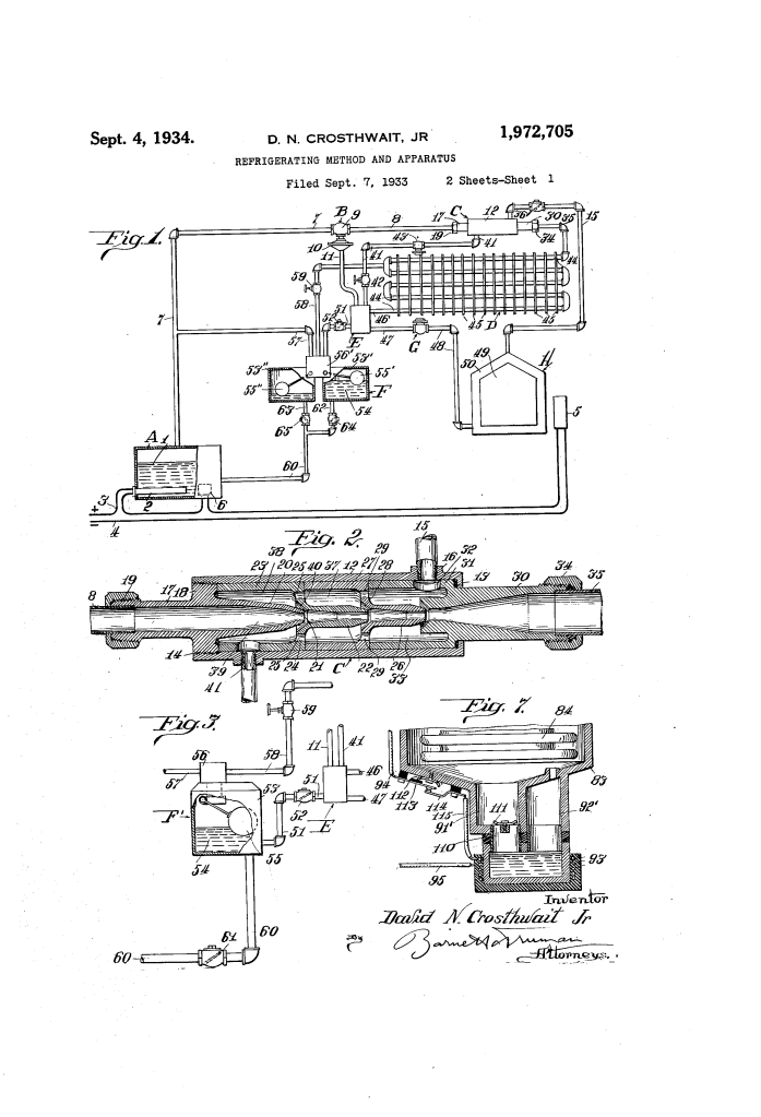
1. The Multi-Stage Jet Compressor (C)
The heart of the system is the jet exhauster and compressor. It uses a high-pressure stream of vaporized refrigerant from the generator to “entrain” (pull) low-pressure vapor from the evaporator.
- Modern Translation: A Steam Ejector or Venturi Pump.
- Function: By shooting high-velocity vapor through a series of nozzles (20, 22, 26), it creates a vacuum that sucks heat-laden vapor away from the cooling area without a mechanical piston.
2. The Differential-Pressure Control Valve (B)
This valve (9, 10) ensures that the system only operates when there is a sufficient “pressure head” between the generator and the condenser.
- Modern Translation: A Pneumatic Logic Interlock.
- Function: It prevents the system from “stalling” or back-flowing. If the generator hasn’t built up enough steam to successfully compress the refrigerant, the valve stays closed, ensuring the jet always has enough kinetic energy to function.
3. The Alternating-Receiver Return (F)
To get the liquid refrigerant from the low-pressure condenser back into the high-pressure generator, Crosthwait used a system of alternating tanks with float-actuated valves.
- Modern Translation: A Gravity-Fed Pressure Equalizer.
- Function: The tanks alternate between condenser pressure (to fill with liquid) and generator pressure (to drain into the boiler by gravity). This “hand-over-hand” method moves fluid against high pressure without a mechanical pump.
4. The Fluid-Pressure Actuated Pump (K)
As an alternative to the gravity tanks, Crosthwait designed a pump powered by the vaporization of a secondary sealed fluid.
- Modern Translation: A Thermal Actuator or Bellows Pump.
- Function: An electric heater (93) boils a small amount of sealed liquid, which expands a bellows (74) to push the refrigerant. When it cools, the bellows contracts and draws more fluid in.
Comparison Table
| Feature | Standard 1930s Refrigeration | Crosthwait’s Jet System |
| Compression | Mechanical Reciprocating Compressor. | Kinetic Jet (Venturi); no moving parts. |
| Lubrication | Required oil (which could foul the refrigerant). | Oil-free; uses only the refrigerant fluid. |
| Sealing | Prone to leaks at the crankshaft seal. | Hermetically sealed; welded pipe connections. |
| Power Source | Electric Motor & Belts. | Direct Thermal Energy (Steam/Heat). |
Significance Section
- Precursor to Absorption Chillers: Crosthwait’s use of heat to drive cooling is a foundational principle for modern large-scale absorption chillers used in “Green” buildings.
- Noise Reduction: By eliminating the “thumping” of a mechanical compressor, this design moved toward the “silent” refrigeration required for modern living.
- Vacuum Steam Technology: This patent applied Crosthwait’s expertise in vacuum heating to the cooling world, proving that a single fluid (like water or alcohol) could manage an entire building’s climate.
