

Railway-Switch (William H. Jackson, No. 593,665)
The patent by William H. Jackson of Indianapolis, Indiana, describes a novel Railway-Switch mechanism (Patent No. 593,665, 1897). The invention’s object is to provide a reliable, fail-safe switch that automatically returns to the main line after a train has passed onto a siding.
Inventor Background: William H. Jackson
William H. Jackson was an inventor residing in Indianapolis, Indiana, a major American railway center. His work reflects a focus on solving critical safety and operational issues within the nation’s rapidly expanding rail infrastructure. His invention is characteristic of the time, relying on sophisticated mechanical principles to create a fail-safe automation system that reduced the risk of accidents caused by human error.
Invention and Mechanism
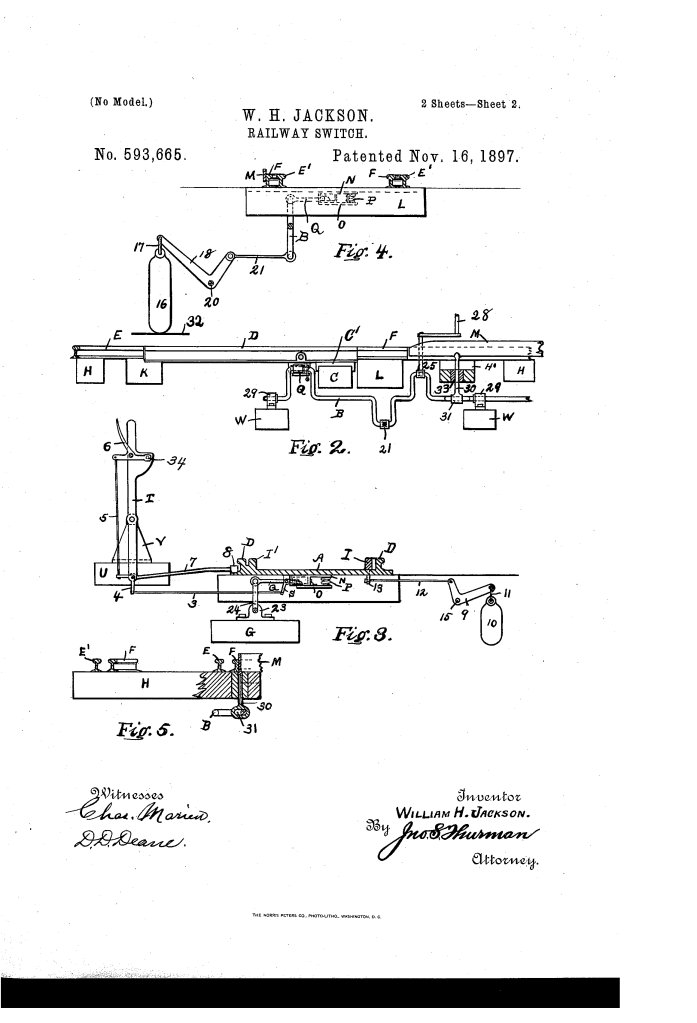
The switch is a specialized, heavy, pivoted table that integrates the rails, a mechanical lock, and a weight-driven return system, with auxiliary signal functions.
- Automatic Return Mechanism (The Fail-Safe):
- Heavy Weight (16): A large weight, deliberately heavier than the switch table (A), is connected via levers and a crank-shaft (B).
- Function: The weight acts as the power source to automatically force the switch back to its safest position (the main line) after its lock is released.
- Train-Actuated Reset:
- Release Lever (M): A pivotal lever attached to the side of the turnout rail. As the train passes onto the siding, the wheels depress this lever (M).
- Sequence: This depression operates the crank-shaft (B), which lifts the heavy weight (16) and engages the switch’s lock (N). Once the last wheel passes, the load is relieved. The elevated weight (16) then descends, operating the crank-shaft and forcefully throwing the switch back to the main track.
- Operation and Safety:
- The system ensures that the switch can only rest in the main line position, eliminating the risk of an empty siding being left open—a major cause of derailments.
- Integrated Signal: The crank-shaft (B) is mechanically linked to a vertical shaft (27), which automatically controls the day/night signal (flags/lamp) to designate the current position of the switch.
Concepts Influenced by This Invention
Jackson’s design influenced subsequent railway and safety systems by establishing effective, purely mechanical fail-safe and automated reset mechanisms.
- Mechanical Fail-Safe and Return-to-Normal: The core concept of using a heavy, powerful return element (Weight 16) to automatically reset a mechanism to its safest default position is a fundamental principle in industrial safety. This influences the design of spring-loaded emergency stops, weighted safety valves, and automatically closing track derails.
- Track-Side Actuation for Safety: The use of the wheel-depressed lever (M) to trigger a secondary locking/reset sequence is a robust example of a track-based trigger. This influenced early designs of mechanical track circuits and other systems that use the vehicle’s weight to interact with track infrastructure.
- Integrated Signal Synchronization: The automatic mechanical link between the switch’s position and the signal’s indication (via crank-shaft B) established a foundational principle for signal interlocking—the idea that the physical state of the track and the visible warning must be perfectly synchronized, a cornerstone of modern railway signaling.
