



Dual-Directional Motor Vehicle (William Hale, No. 1,672,212)
The patent by William Hale of Itmann, West Virginia, describes an innovative Motor Vehicle design (Patent No. 1,672,212, 1928). This invention is a “double-ended” vehicle—specifically designed for motor busses and trucks—that can be operated with equal efficiency from either end. Hale’s primary objective was to eliminate the logistical problem of turning large vehicles around on narrow or rough roads. His innovation features a centralized drive axle powered by two independent motors and a dual-steering system that can be locked in neutral when not in use.
Inventor Background: William Hale
William Hale was an African American inventor and engineer based in the coal-mining regions of West Virginia during the late 1920s. His invention addressed a very specific “pain point” of the era: the difficulty of navigating large commercial vehicles through the winding, rugged mountain passes of Appalachia, where there was often no room to execute a U-turn. Hale’s patent demonstrates a sophisticated mastery of redundant mechanical systems and symmetrical chassis design. By the time he filed this in 1926, he was a practitioner of “efficiency engineering,” seeking to modernize the infrastructure of rural transport.
Key Mechanical & Symmetrical Systems
The vehicle is designed to be perfectly reversible, featuring duplicated controls and a shared power center.
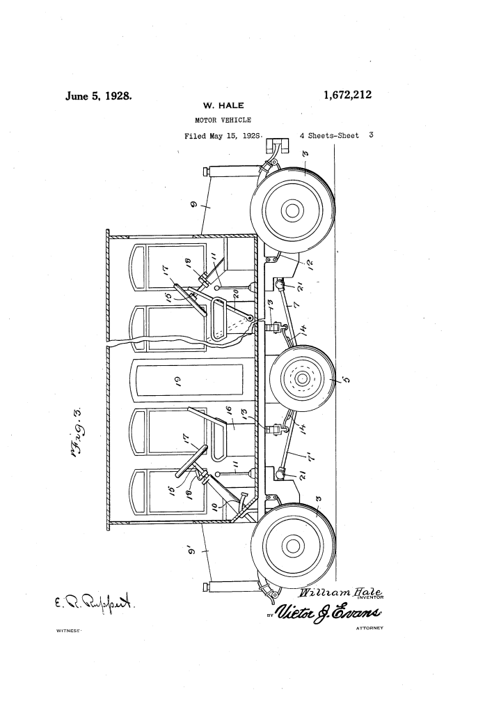
1. The Centralized Drive Assembly (4, 5, 6)
- Under-Chassis Wheels: Unlike standard trucks with axles at the far ends, Hale’s vehicle features a central axle assembly (4) located at the midpoint of the chassis.
- Compact Track: The axle is shorter than the width of the chassis, placing the drive wheels (5) directly under the vehicle body.
- Shared Differential (6): The assembly includes a single differential that is engaged by two independent drive shafts (7 and 7′).
- Function: This allows the vehicle to be pushed or pulled from either end using a single set of drive wheels, concentrating the weight and traction at the center of the vehicle.
2. Dual Power Plants and Drive Shafts (9, 9′)
- Dual Motors: A complete engine and clutch system is situated at both the front and rear of the vehicle.
- Independent Operation: Each motor is controlled by its own pedal (10) and gear shift (11).
- Action: When driving in one direction, the “forward” motor is active while the “rear” motor remains idle. For the return trip, the driver simply moves to the other seat and engages the second engine.
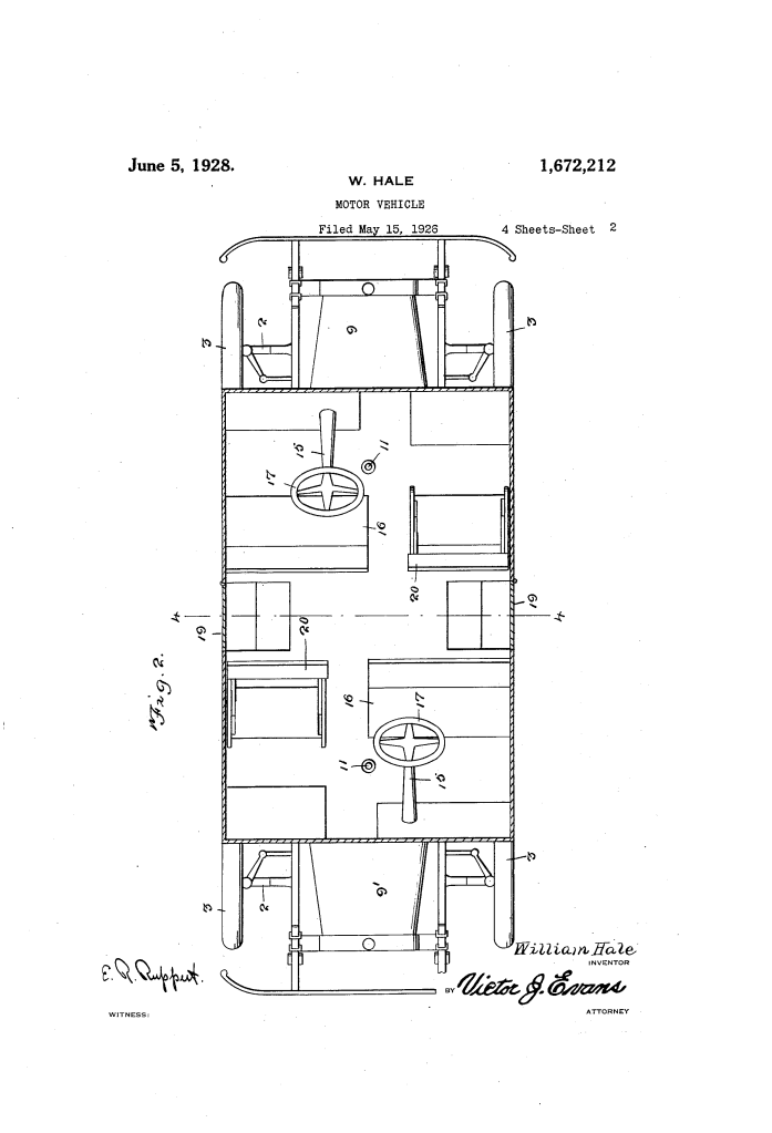
3. Symmetrical Steering and Lock System (15, 17, 18)
- Dual Steering Wheels (17): Both the front and rear pairs of wheels are pivotally connected for steering.
- The Steering Lock (18): A crucial safety feature is the lock (18) provided for each steering mechanism.
- Function: When the vehicle is being driven from the “A” end, the steering wheel at the “B” end is locked in a neutral, straight-ahead position. This ensures the trailing wheels act as a stable, fixed rear axle during transit.
4. Reversible Interior and Doors (19, 20)
- Passenger Orientation: To maintain the comfort of a standard bus, the seat backs (20) are hinged.
- Universal Doors: Centrally arranged doors (19) provide easy access regardless of which end is currently the “front.”
- Function: Similar to the seating in steam-powered rail cars, passengers can flip their seat backs to always face the direction of travel.
Improvements Over Standard Motor Busses
| Feature | Standard 1920s Busses | Hale’s Dual-Directional Vehicle |
| Maneuverability | Requires 40-50 feet of space to turn around. | Zero turning radius required; simply reverse direction. |
| Logistics | Often forced to reverse for miles on narrow roads. | Full-speed travel possible in either direction. |
| Mechanical Security | A single engine failure strands the vehicle. | Redundant motors provide a “backup” power source. |
| Stability | Long wheelbase can be difficult on rough terrain. | Central drive axle provides superior center-of-gravity. |
Significance to Automotive Engineering
William Hale’s motor vehicle influenced the development of shuttle transport and symmetrical vehicle dynamics.
- The Precursor to the Modern Shuttle: The logic of a bi-directional vehicle is a direct ancestor to the automated people movers and airport shuttles used globally today, which travel back and forth on fixed paths without turning.
- Redundancy and Reliability: By integrating two complete power plants into one chassis, Hale anticipated the “fail-safe” requirements of modern emergency and industrial vehicles.
- Suspension Synergy: His use of a complex spring system (13, 14) to support a centralized axle showed a deep understanding of weight distribution and shock absorption for heavy loads.
- Industrial Problem-Solving: Hale’s design was a practical response to the geographical challenges of the American South and Appalachia, proving that infrastructure constraints are often the primary drivers of mechanical innovation.
