



Method and Means of Defrosting a Cold Diffuser (1954)
Patented on January 19, 1954 (U.S. Patent No. 2,666,298), this invention by Frederick McKinley Jones revolutionized transport refrigeration. Jones, a prolific self-taught engineer and co-founder of Thermo King, addressed a critical failure point in early mobile cooling: the buildup of frost on evaporator coils, which acts as insulation and prevents the unit from cooling the cargo.
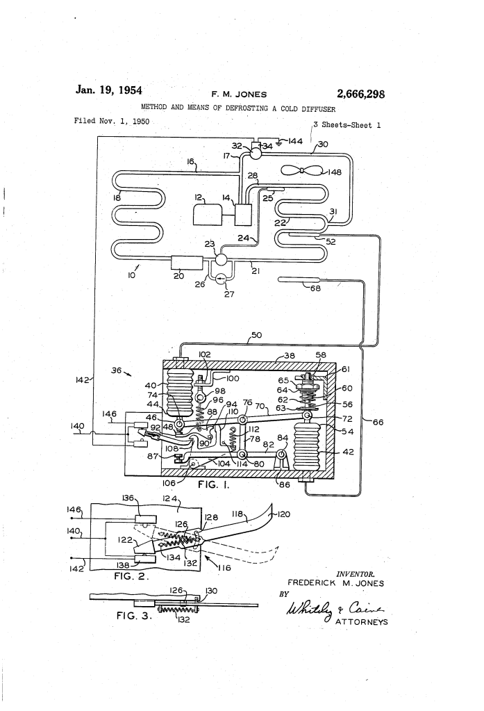
This patent introduced an automatic, “hot gas” defrost cycle controlled by a sophisticated differential thermostat. This ensured that trucks and trailers could transport perishables over long distances without the cooling system failing due to ice accumulation.
The Problem: The “Frost Blanket”
In a refrigeration system, the evaporator (the “cold diffuser”) absorbs heat from the surrounding air. Because the coils are very cold, moisture in the air freezes onto them.
- The Result: A layer of ice forms, blocking airflow and insulating the coils.
- The Danger: The engine keeps running, but the cargo space gets warmer, leading to food spoilage.
The Innovation: Differential Thermal Control
Jones’s breakthrough was a control system that “knows” when to defrost by comparing two different temperatures.
1. The Dual Thermal Motors (Bellows)
The control device (36) uses two thermal bulbs:
- Evaporator Bulb (52): Attached directly to the cooling coils to monitor surface temperature.
- Ambient Bulb (68): Placed in the airflow to monitor the temperature of the cargo space.
2. The Logic of the Differential
Under normal operation, there is a steady “gap” or differential between these two temperatures (e.g., the space is 45°F and the coil is 25°F).
- When Frost Accumulates: The coil gets colder (because it can’t absorb heat) while the space gets warmer (because it isn’t being cooled).
- The Trigger: When this “gap” widens past a pre-set limit, the mechanical linkage inside the controller moves a switch (116) to stop cooling and start defrosting.
The Defrost Mechanism: The “Hot Gas” Bypass
Rather than using electric heaters (which drain power) or hot water, Jones used the heat already generated by the refrigeration process itself.
- The Bypass Valve (32): The controller opens a solenoid valve.
- Redirecting Heat: Instead of the high-pressure refrigerant going to the condenser to be cooled, it is sent directly into the center of the evaporator (22).
- Phase Separation: Jones specifically designed the gas to enter above the liquid level. This prevents liquid refrigerant from “slugging” back into the compressor and damaging the pistons.
- Melting the Ice: The hot gas warms the coils from the inside out, rapidly melting the frost.
Safety and Automation Features
- Safety Latch (88): Prevents the unit from accidentally starting a defrost cycle immediately after being turned on (when temperatures are naturally fluctuating).
- Fan Control: The system automatically shuts off the fan (148) during defrosting. This prevents the unit from blowing hot, moist air onto the frozen food.
- Automatic Reset: Once the ice is gone and the coil temperature rises, the bellows expand, flipping the switch back to “Cooling” mode.
Technical Components Table
| Component | Number | Purpose |
| Compressor | 14 | The “pump” that compresses refrigerant and generates heat. |
| Evaporator | 22 | The cold diffuser that cools the air. |
| Bypass Valve | 32 | Redirects hot gas into the evaporator for defrosting. |
| Thermal Bellows | 40, 42 | Mechanical “motors” that move based on temperature changes. |
| Floating Lever | 70 | The “brain” that compares the two temperatures and flips the switch. |
Significance of Frederick McKinley Jones
Frederick Jones was the first African American to receive the National Medal of Technology (posthumously in 1991). This patent is one of over 60 he held. His inventions:
- Revolutionized Logistics: Enabled the “cold chain” that allows us to have fresh produce and frozen medicine year-round.
- Supported WWII: His portable cooling units were used to preserve blood and food for soldiers in the field.
- Founded an Industry: His company, U.S. Thermo Control Co. (now Thermo King), remains a global leader in transport temperature control.
Final Insight: Jones’s genius lay in creating a fully mechanical “computer.” By using the physical expansion of gases in bellows to operate a complex lever system, he created a reliable, automatic brain for refrigeration that required no electronics—essential for the bumpy, harsh environment of 1950s trucking.
