
Guard for Downspouts; Ervin G. Greene; Patent No. 1,930,354
The patent by Ervin G. Greene of Wichita, Kansas, describes a Guard for Downspouts (Patent No. 1,930,354). This invention is a removable, adjustable drainage protection system designed to prevent organic debris from obstructing the vertical drainage pipes of a building’s gutter system.
The “Why”
In the early 20th century, residential and industrial gutter systems lacked integrated filtration. Leaves and debris would frequently wash into the downspout, creating deep clogs that required expensive or dangerous manual removal. If left untreated, water would overflow, causing foundational erosion and rot. Greene sought to create a “friction-fit” solution that was both “invisible” (low profile) and adaptable to the varying pipe diameters of the era without requiring permanent hardware.
Inventor Section: Ervin G. Greene
Ervin G. Greene was an insightful African American inventor operating during the height of the Jim Crow era. His engineering philosophy centered on modular simplicity and universal compatibility. During a time when Black innovators faced significant hurdles in securing capital and manufacturing partnerships, Greene focused on designs that utilized accessible materials—like woven wire and resilient steel—to solve universal infrastructure problems. His work reflects the “Double Victory” mindset: achieving technical excellence while navigating a restrictive social landscape.
Key Systems Section
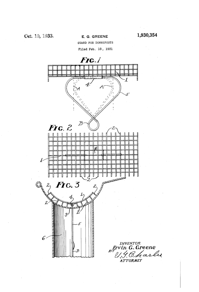
1. Mesh Filtration Grid
- Modern Term: High-flow strainers.
- The primary body is a woven wire fabric (1). Greene’s innovation includes “leg spacing means” (2), where the wire ends are bent at $90^{\circ}$ angles. This creates a stand-off distance between the mesh and the gutter floor, ensuring that even if some silt accumulates, water can still flow laterally beneath the guard into the downspout.
2. The Resilient Bail Anchor
- Modern Term: Tension-based expansion anchor.
- The “bail” (5) is a U-shaped wire component designed with mechanical elasticity. It features a loop (B) at the bottom which acts as a manual adjustment point. By compressing or expanding this loop, the user changes the outward tension of the bail, allowing it to “bind securely” against the interior walls of downspouts with varying diameters.
3. Piped Clip Coupling
- Modern Term: Hinge-sleeve assembly.
- The bail is connected to the mesh via a piped clip (4). This allows the anchoring bail to “rock and slide” (rotate and translate). This degree of freedom is critical because it allows the guard to sit flush against the curved surface of the gutter regardless of the specific angle at which the downspout meets the trough.
Comparison Table
| Feature | Standard Methods (Pre-1933) | Greene’s Innovation |
| Attachment | Permanent screws or gravity-only placement. | Friction-fit resilient bail; stays secure in high winds. |
| Versatility | Fixed sizes for specific pipe diameters. | Adjustable loop (B); fits multiple pipe gauges. |
| Debris Management | Sits flat, allowing “matting” to block flow. | 90° standoff legs; allows sub-surface water bypass. |
| Maintenance | Requires tools to remove/clean. | Tool-less removal; rockable design for quick clearing. |
Significance Section
- Precursor to Modern Gutter Guards: The use of a “tension-fit” mesh is the direct mechanical ancestor to the “drop-in” filters sold in modern hardware stores today.
- Hydraulic Efficiency: By introducing the concept of a “spaced” guard, Greene pioneered the idea that a filter should not sit flush against the orifice it protects, a principle used in modern industrial intake screens.
- Universal Design: His focus on adjustability anticipated the standardization of the construction industry, where a single product must fit varied manufacturer specs.
