

Fuel Valve Lock | Samuel Moore | Patent No. 2,006,027
The patent by Samuel Moore describes a Fuel Valve Lock for Motor Vehicles (Patent No. 2,006,027), issued on June 25, 1935. This invention is a key-operated security mechanism that physically interrupts the flow of gasoline between the supply tank and the carburetor, effectively immobilizing the vehicle against unauthorized use.
The “Why”
In the mid-1930s, automobile theft was becoming a prevalent issue as vehicles became more sophisticated and faster. Standard ignition locks of the era were relatively easy to bypass by “hot-wiring” the electrical system. Moore identified the “pain point” of easily defeated electrical security, proposing a mechanical solution: if an “evilly disposed person” could not get fuel to the engine, the car remained a stationary object regardless of whether they could jump-start the ignition.
The Inventor: Samuel Moore
Samuel Moore’s design philosophy centered on Strategic Inaccessibility. By placing the critical valve components on the engine side of the firewall (the “dash”), he ensured that a thief would have to work in the cramped, exposed engine compartment to attempt a bypass—a task nearly impossible to do “hurriedly” or discreetly. His work exemplifies a shift in 1930s engineering toward multi-layered security systems that combined locksmithing with fluid dynamics.
Key Systems Section
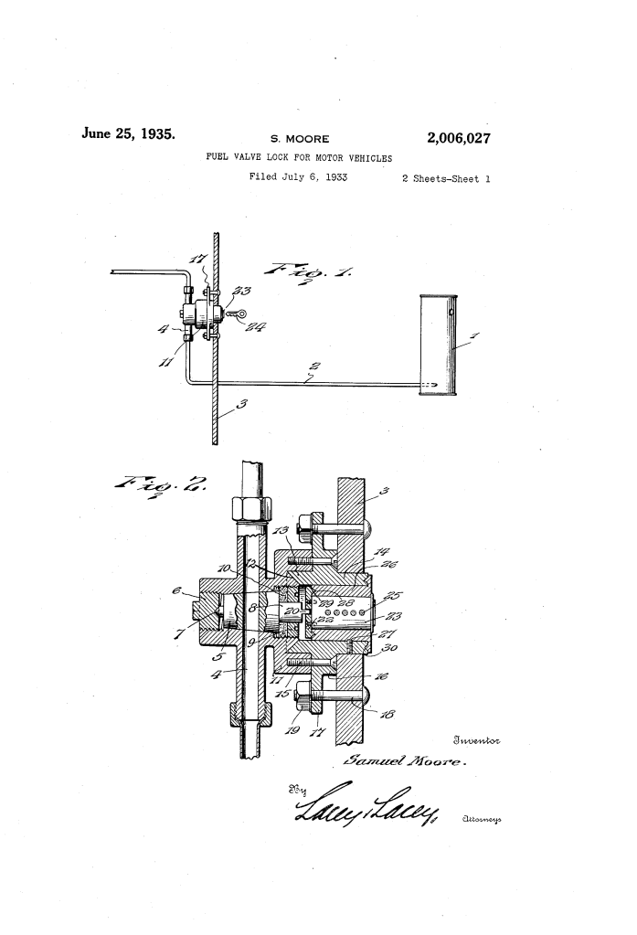
Fluid Path Interruption
- Turning Plug Valve: The heart of the device is a precision-machined plug valve ($5$). When rotated $90^\circ$ via the key, the internal port moves perpendicular to the fuel line, creating a liquid-tight mechanical block.
- Leakage Prevention: To handle the pressurized nature of fuel systems, Moore utilized a threaded disk ($9$) and packing ($10$) to create a “ground joint,” ensuring that gasoline would not seep into the passenger compartment.
The Lock-to-Valve Interface
- Rib-and-Socket Coupling: The lock cylinder ($23$) is not directly attached to the valve. Instead, it uses a diametrical rib ($20$) that seats into a corresponding notch ($21$). This modularity allows for the lock cylinder to be replaced without draining the fuel system.
- V-Shaped Sealing: The barrel ($26$) and disk ($22$) feature interlocking V-shaped annular ribs ($28, 29$) to provide a secondary seal against fumes and fluid.
The “Anti-Tamper” Housing
- Tapered Wedge Assembly: The lock case ($14$) is secured to the valve boss ($11$) using a wedge-shaped annular rib ($13$) that fits into a tapered groove ($12$). This design makes it extremely difficult to pry the two units apart with standard tools.
- Hidden Fasteners: The mounting bolts ($18$) and nuts ($19$) are oriented so they can only be tightened or loosened from the engine side, further frustrating any attempt to remove the device from the interior.
Comparison: Standard 1930s Security vs. Moore’s Fuel Lock
| Feature | Ignition Locks (Standard) | Moore’s Fuel Valve Lock |
| Method of Protection | Breaks the electrical circuit. | Breaks the physical fuel supply. |
| Vulnerability | Easily bypassed by “hot-wiring.” | Requires replumbing the fuel line. |
| Location | Inside the steering column/dash. | Mounted through the firewall. |
| Deterrence Factor | Low; often hidden from view. | High; car will stall quickly if started on “float” fuel. |
Significance
- Early Immobilizer Technology: This is a direct ancestor to modern electronic engine immobilizers, shifting the focus from “who has the key” to “is the system physically enabled.”
- Double-Seal Engineering: The use of nested V-shaped grooves for fluid retention is a principle still found in high-pressure hydraulic fittings.
- The “Secondary Start” Trap: Because a small amount of fuel remains in the carburetor, a thief might successfully start the car but would stall out after moving only a few dozen feet, likely abandoning the vehicle in a vulnerable, exposed location.
