




Exhausting Mechanism, David N. Crosthwait Jr., Patent No. 1,893,883
The patent by David N. Crosthwait Jr. of Marshalltown, Iowa describes an Exhausting Mechanism (Patent No. 1,893,883). This invention is an integrated vacuum-pumping and boiler-return system designed for large-scale steam heating. It automatically regulates the pressure differential within a building’s heating system, extracts non-condensable gases and liquid condensate from radiators, and returns that water to the boiler to maintain a continuous, high-efficiency thermal cycle.
The “Why”
In the early 20th century, large steam heating systems often suffered from “air binding”—where trapped gases blocked steam from entering radiators—and inefficient condensate return. Manual management of these systems was complex and prone to failure, which could lead to burst pipes or boiler dry-firing. Crosthwait, a pioneer in heat transfer, sought to solve the synchronization pain point: the need to simultaneously create a vacuum for suction and provide high pressure for boiler return, all while ensuring the pump never “loses its prime” (runs dry).
Inventor Section: David N. Crosthwait Jr.
David Crosthwait was a preeminent Black engineer and a Fellow of the American Society of Heating, Refrigeration, and Air Conditioning Engineers (ASHRAE). His engineering philosophy was rooted in precision automation and fluid thermodynamics. Operating during an era of rapid urbanization and industrial growth, Crosthwait held nearly 40 patents. This specific mechanism showcases his ability to combine complex electrical logic with mechanical fluid controls, effectively creating the “brain” for the heating systems of skyscrapers and large factories.
Key Systems Section
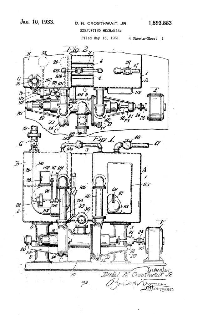
1. Combined Pump and Jet Exhauster Unit
The heart of the system is a single-shaft assembly (Fig. 6) that houses both a centrifugal pump and a jet exhauster.
- Modern Engineering Term: Dual-stage fluid ejector pump.
- The centrifugal impeller (28) creates a high-pressure stream that is forced through an annular nozzle (36). This “hurling” water creates a powerful vacuum in the exhauster chamber (12), which sucks air and water out of the building’s radiators.
2. Separating and Reserve Tank Logic
The mechanism utilizes a main separating tank (A) and an auxiliary reserve tank (B).
- Modern Engineering Term: Gas-liquid separator with emergency header.
- Tank A uses vertical cooling sections (3) to dissipate heat and separate gases from the water. Tank B is positioned at a higher elevation; it stays full during operation to provide a gravity-fed prime to the pump. If the main water level drops, the reserve tank automatically “dumps” its volume to prevent pump cavitation.
3. Differential-Pressure Control
A control box (63) monitors the pressure difference between the supply and return lines of the heating system.
- Modern Engineering Term: Delta-P (Differential Pressure) Controller.
- If the vacuum in the radiators drops below a set point, the differential controller (64) triggers the motor (F). This ensures the system only consumes power when necessary to maintain the thermal flow, a hallmark of early green engineering.
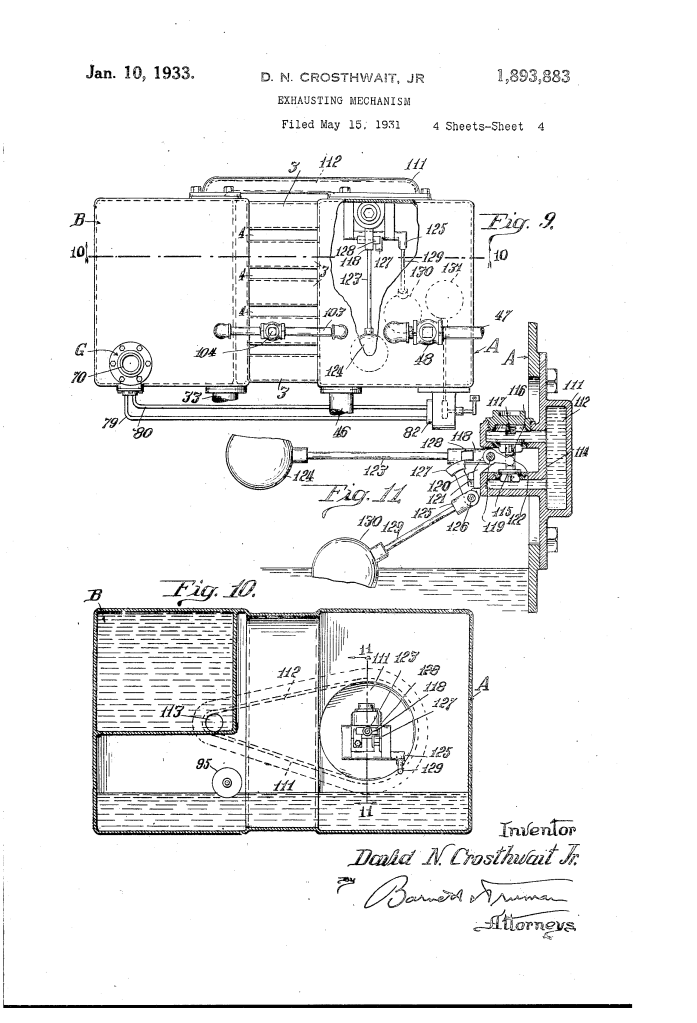
4. Multi-Float Electrical Logic
Crosthwait utilized a sophisticated array of three distinct float-operated switches (98, 99, 102) to manage the system’s “health.”
- Modern Engineering Term: Redundant level-control logic.
- Switch 98: Stops the motor if water is too low (protects the pump).
- Switch 102: Forces the pump to run if water is too high (prevents flooding).
- Switch 62: Responds to the accumulator tank (E) to clear collected condensate.
Comparison: Manual Steam Systems vs. Crosthwait’s Mechanism
| Feature | Standard Steam Systems (1930) | Crosthwait’s Innovation |
| Air Removal | Manual air valves on each radiator. | Centralized vacuum extraction via jet exhauster. |
| Boiler Return | Gravity return (limited to small buildings). | Pressure-forced return (supports skyscrapers). |
| Pump Reliability | Frequent “loss of prime” failures. | Reserve auxiliary tank for automatic priming. |
| Efficiency | Constant pump operation. | Demand-based operation via differential pressure. |
Significance
- Skyscraper Heating: This invention was essential for the development of high-rise buildings, allowing steam to be effectively “pulled” through miles of vertical piping.
- Automation: It moved heating technology away from manual coal-tending and valve-turning toward the fully automated HVAC systems we use today.
- Thermodynamic Efficiency: By maintaining a precise vacuum, it allowed steam to circulate at lower temperatures, significantly reducing fuel consumption.
