

Combined Sleigh and Boat (Clifton M. Ingram, No. 1,716,230)
The patent by Clifton M. Ingram of Porter, Oklahoma, describes a Combined Sleigh and Boat (Patent No. 1,716,230, 1929). This invention is a versatile, amphibious vehicle designed for rapid travel over snow, ice, and water. Ingram’s primary objective was to create a “closed body” vehicle that protects its occupants from harsh elements while providing the mechanical flexibility to navigate polar or aquatic regions. His innovation features an aerodynamic laminated hull, dual air-screw propulsion, and a specialized steering and braking system adapted for both frozen and liquid surfaces.
Inventor Background: Clifton M. Ingram
Clifton M. Ingram was an African American inventor based in Oklahoma during the late 1920s. His 1929 patent represents a high-water mark in exploration engineering. At a time when arctic exploration was a major global interest, Ingram designed a machine that could realistically be used for polar research—even suggesting it could be suspended from an aircraft fuselage for transport. His work demonstrates a mastery of composite materials and thermodynamic recycling, as he utilized engine exhaust to heat the cabin, a sophisticated feature for the era’s automotive technology.
Key Mechanical & Structural Systems
The vehicle is designed to minimize resistance across different mediums using a unique hull and propulsion setup.
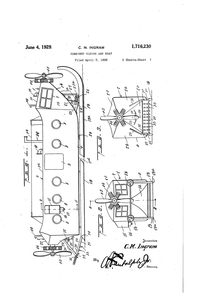
1. The Laminated Aerodynamic Body (1, 2, 3, 4, 5, 6)
- Shape: The body features tapered ends (1, 2) and a rectangular intermediate portion (3). The configuration is specifically designed to reduce air and water drag.
- Lamination: The hull is a “sandwich” of three layers:
- Outer Layer (4): Steel for structural strength and impact resistance.
- Intermediate Layer (6): Cork for insulation and buoyancy.
- Inner Layer (5): Wood for interior finishing and secondary support.
- Function: This construction ensures the cabin remains warm while providing the necessary displacement for the vehicle to float in open water.
2. Dual Air-Screw Propulsion (45, 46)
- Propellers: The vehicle is driven by air screws (45) located at both the front and rear.
- Motors: These are powered by internal combustion motors (46).
- Action: Unlike a traditional water propeller, air screws work effectively whether the vehicle is on solid ice or floating in water. This eliminates the need for separate drive systems for different terrains.
3. Steering and Braking for Snow and Water (18, 19, 30, 50)
Ingram developed a multi-stage control system:
- Snow Steering: Front runners (19) are pivotally mounted and controlled by a steering wheel (23) via a cable and drum.
- Snow Brake (30): A pivotally secured brake with prongs (33) can be lowered to dig into ice or snow using a rack-and-pinion mechanism.
- Water Steering: A rudder (50) at the rear is controlled by a dedicated lever (51) for aquatic navigation.
- Function: This dual-steering setup ensures the operator maintains control regardless of the surface texture.
4. The Exhaust Heating System (47) (Key Innovation)
- Heat Recovery: The heating coils (47) inside the body are connected to the exhaust pipes of the motors.
- Function: In sub-zero environments, the “waste” heat from the engines is recycled to keep the cabin comfortable. This increased the vehicle’s fuel efficiency by repurposing thermal energy that would otherwise be lost.
Improvements Over Standard Sleighs or Boats
| Feature | Standard Sleighs / Boats | Ingram’s Sleigh-Boat |
| Versatility | Limited to one medium (ice or water). | Amphibious; traverses snow, ice, and water. |
| Occupant Comfort | Exposed to wind and cold. | Closed, insulated, and heated cabin. |
| Propulsion | Required water contact or animal draft. | Dual air screws provide thrust in any environment. |
| Safety | No braking on ice; poor steering in snow. | Pronged ice brake and dual-mode steering. |
Significance to Engineering and Exploration
Clifton M. Ingram’s combined sleigh and boat influenced the development of all-terrain exploration vehicles and thermal management systems.
- Recycled Thermal Energy: The use of engine exhaust for cabin heating is a precursor to the HVAC systems used in modern automobiles and aircraft.
- Composite Buoyancy: Ingram’s use of cork between steel and wood anticipated the composite sandwich panels used in modern boat building to provide both strength and unsinkable buoyancy.
- Multi-Environment Control: By providing separate controls for runners and rudders, Ingram practiced early human factors engineering, recognizing that the physics of steering changes drastically between snow and water.
- Polar Infrastructure: His inclusion of a periscope (54) and antenna (49) showed he was designing for professional exploration and navigation, not just recreation.
