



Bucket Trap
Inventor: David N. Crosthwait, Jr.
Patent Number: U.S. 1,930,224
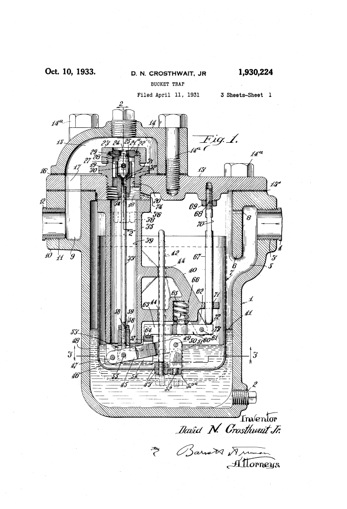
The patent by David N. Crosthwait, Jr. of Chicago, Illinois, describes a Bucket Trap (Patent No. 1,930,224). This invention is a specialized mechanical valve assembly for steam heating systems designed to automatically discharge air and water (condensate) while preventing the escape of pressurized steam.
The “Why”
In early 20th-century steam heating, “air binding” was a critical failure point. When a system was cold, air would fill the radiators and pipes. Standard bucket traps remained closed because the water inside buoyed the bucket up, trapping the air and preventing hot steam from entering. This caused systems to heat up slowly or fail entirely unless a person manually opened a “pet-cock” to vent the air. Crosthwait sought to eliminate this manual labor and thermal inefficiency through an automatic thermostatic override.
Inventor Section: David N. Crosthwait, Jr.
David Nelson Crosthwait, Jr. was a brilliant mechanical engineer and one of the most prolific inventors in the field of HVAC (Heating, Ventilation, and Air Conditioning). Holding over 40 U.S. patents, he was a pioneer who broke racial barriers to become a Fellow of the American Society of Heating, Refrigerating and Air-Conditioning Engineers (ASHRAE). His engineering philosophy centered on systemic harmony—ensuring that large-scale industrial heating could operate with minimal human intervention. Working during a time when Black professionals were often relegated to manual labor, Crosthwait’s designs for the Rockefeller Center and the Radio City Music Hall heating systems cemented his legacy as a master of thermodynamics.
Key Systems Section
The Buoyancy Control Mechanism
The primary operation relies on a floating “bucket” within a water-filled casing.
- When the casing fills with water, the bucket floats, pushing the valve stem up to seal the outlet.
- As water overflows into the bucket, it loses buoyancy and sinks, pulling the valve open to discharge the condensate via a discharge tube.
Thermostatic Air Release
The “brain” of this trap is the expansion rod (or ribbon).
- Cold State: The metallic rod contracts, allowing a compression spring to force the valve open regardless of the bucket’s position. This allows accumulated air to vent freely.
- Hot State: Once steam enters, the rod expands, overcoming the spring and “handing over” control to the bucket mechanism.
Interchangeable Valve Seat System
Crosthwait engineered a modular solution for different steam pressures.
- He designed a series of interchangeable valve seats with varying orifice sizes.
- Mechanical Logic: To maintain the same closing force across different pressures, the seat area must change ($Pressure \times Area = Force$). By swapping only the seat, the same trap body could be used in high-pressure industrial plants or low-pressure residential systems.
Comparison Table
| Feature | Standard Bucket Traps (1930s) | The Crosthwait Innovation |
| Startup | Air-bound; requires manual venting. | Automatic air venting via thermostatic rod. |
| Regulation | Fixed for specific pressures. | Interchangeable seats for multi-pressure use. |
| Reliability | Prone to “short-circuiting” or air-locking. | Positive mechanical override until steam arrives. |
| Versatility | System-specific models required. | Unitary structure adaptable to various setups. |
Significance
- Modern Steam Efficiency: This invention is a direct ancestor to the “inverted bucket traps” still used in modern industrial steam loops to maximize heat transfer.
- Automation Pioneer: Crosthwait’s use of thermal expansion to override mechanical buoyancy was an early leap toward autonomous building management systems.
- Standardization: His interchangeable seat design was a masterclass in industrial interoperability, reducing manufacturing costs and simplifying maintenance.
