



Air Conditioning Unit, Frederick M. Jones (1949)
Patented in July 1949, this invention by Frederick M. Jones (U.S. Patent No. 2,475,841) represents a monumental leap in mobile refrigeration. Jones, a prolific self-taught engineer and co-founder of Thermo King, designed this unit specifically to solve the “spoiled cargo” problem for the trucking industry.
Unlike previous bulky systems, this unit was a “top-mount” vertical package. It was designed to be dropped into a hole in the roof of a truck or trailer, with the heavy engine and compressor sitting outside on the roof, while the cooling evaporator hung inside. This design saved floor space for cargo and used the natural physics of rising heat and falling cold air to maximize efficiency.
The “Why”
Before Jones’s invention, transporting perishables like meat, citrus, and dairy over long distances was a gamble. Ice bunkers were heavy, took up space, and melted.
- The Problem: Mobile cooling units were often “one-direction” (only cooling) and would fail if the truck drove into a headwind that blocked the exhaust. They were also difficult to service.
- The Solution: A vertically stacked, self-contained unit. Jones integrated the engine, compressor, condenser, and evaporator into a single column. It could cool a truck in the summer and, by reversing the refrigerant flow, heat the truck in the winter to prevent produce from freezing during blizzards.
Inventor Section: Engineering Philosophy
Frederick M. Jones’s philosophy was Unitary Simplicity. He believed that every moving part—the compressor, the starter-generator, and both the upper and lower fans—should be driven by a single vertical shaft (53) powered by one motor. This eliminated complex belts, pulleys, and gears that frequently broke due to the constant vibration of a moving truck. By making the unit a “plug-and-play” module, a broken unit could be swapped for a fresh one in minutes, keeping the truck on the road.
Key Systems Section
1. The Vertical Drive Column
The heart of the patent is the alignment of all mechanical components along one axis.
- The Motor (72): A radial-type gas engine sits in the upper chamber.
- The Compressor (70): Positioned directly beneath the engine.
- The Single Shaft (53): This shaft extends from the top of the unit all the way through the insulated partition (55) into the cargo space. It spins the upper fan to cool the engine and the lower blower to cool the cargo simultaneously.
2. The “Turret” Design (All-Weather Airflow)
Jones realized that if a truck moved at high speeds, wind pressure could “choke” the cooling fans.
- 360-Degree Intake: The upper casing features openings on all four sides with downward-sloping louvers (59).
- The Benefit: Regardless of wind direction or truck speed, air is always drawn in, circulated over the engine/compressor, and then pushed up through the condenser (22) and radiator (21) to exit out the top.
3. The Radial Blower (Air Circulation)
Inside the truck, Jones used a specific type of fan to ensure the entire cargo stayed cold.
- Centrifugal Blower (66): Instead of blowing air in one direction, this horizontal fan pulls warm air up from the center of the truck.
- Cold Air “Sheet”: It flings the cooled air out radially in all horizontal directions across the ceiling.
- The Physics: Cold air is denser than warm air. By spreading a “sheet” of cold air across the roof, it naturally “falls” down the walls to the floor, pushing the warmer air back toward the center to be re-cooled.
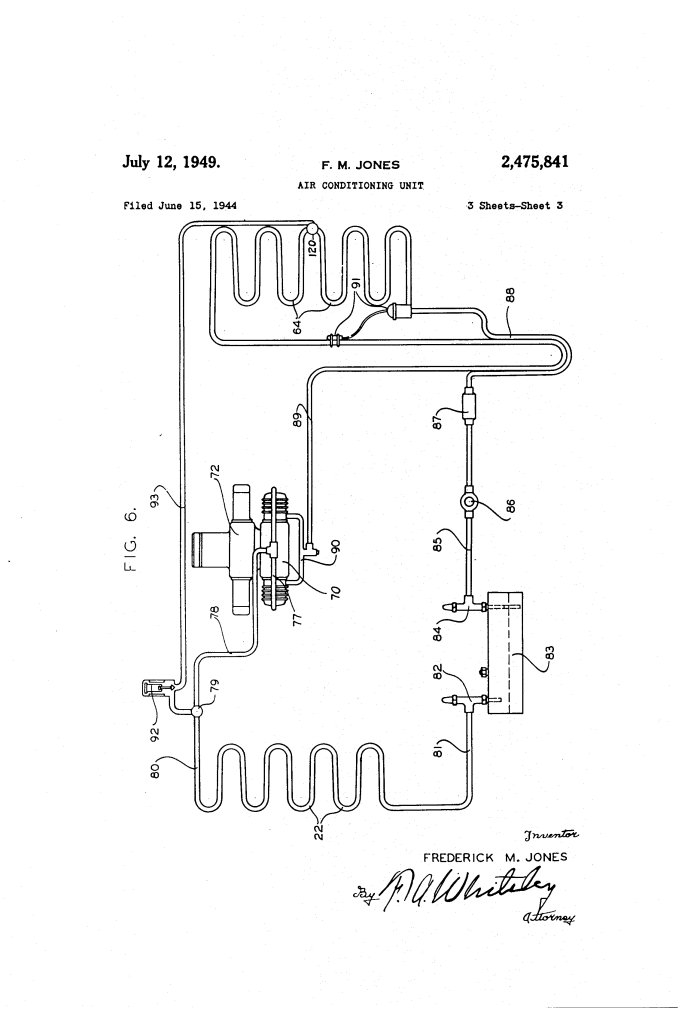
The Refrigeration Cycle (Fig. 6)
Jones’s system was more than just a cooler; it was a “heat pump” of sorts.
| Component | Function |
| Compressor (70) | Pumps high-pressure refrigerant gas. |
| Condenser (22) | Sits on the roof; releases heat from the refrigerant to the outside air. |
| Evaporator (64) | Hangs inside the truck; absorbs heat from the cargo, cooling the air. |
| Solenoid Valve (92) | The “Reverse” switch. When opened, it sends hot gas directly to the evaporator to defrost it or heat the truck. |
Significance
This 1949 patent laid the foundation for the modern cold chain:
- The “Thermo King” Legacy: This vertical top-mount design became the industry standard for small and medium delivery trucks for decades.
- Diversity of Use: Jones noted in the patent that while designed for trucks, it could be used for any room or compartment requiring a “drop-in” climate solution.
- Reliability: By using a radial engine and eliminating belts, Jones created a machine that could survive the “torture test” of thousands of miles of bumpy highway travel.
Final Insight: Frederick M. Jones was a pioneer not just in refrigeration, but in accessibility. By designing a unit that was “hermetically sealed” and easily detachable via corner clamps (112-115), he made high-tech refrigeration manageable for everyday truck drivers and mechanics.
