
Audible Underwater Signal (1957)
U.S. Patent No. 2,803,807, granted on August 20, 1957, to Francis E. Butler, describes a specialized underwater acoustic signaling device and gun mechanism. Developed for the U.S. Navy, this invention was designed to provide an unmistakable audible confirmation that a torpedo’s exploder mechanism had functioned correctly during training exercises.
This invention solved a critical problem in naval testing: determining whether a practice torpedo actually “hit” its target. In exercise runs, torpedoes do not carry a destructive warhead. Butler’s device provided a loud, recognizable “bang” that could be heard by personnel inside a target submarine at depths of up to 500 feet, without the need for electronic amplification.
The Innovation: The “Delayed Ejection” System
The brilliance of the Butler signal is its multi-stage firing sequence. It ensures that the signal is not just a noise, but a timed noise that can be distinguished from the initial mechanical “thud” of the torpedo hitting the submarine’s hull.
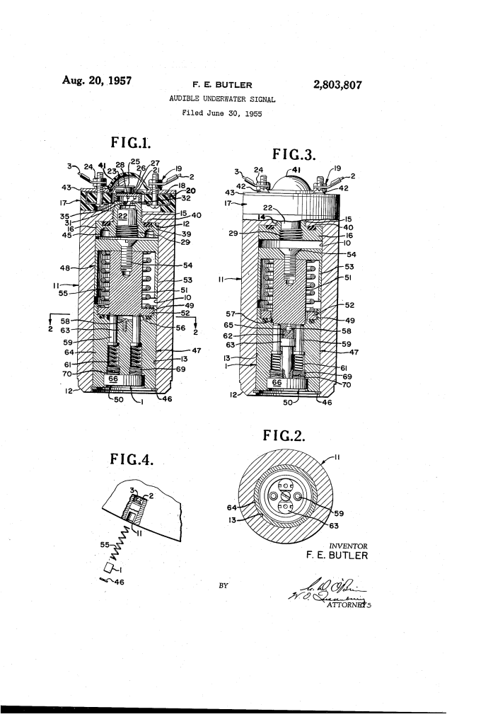
1. The Gun Assembly (11)
The device is housed in a permanent gun barrel mounted into the “skin” of the torpedo’s exercise head. It is designed for rapid reloading, allowing the same torpedo to be used in multiple tests by simply swapping out the explosive cartridges.
2. The Ejector and Signal Assembly (47)
This is the “bullet” of the system. It consists of a phenolic plug (51) and a detonator assembly (50).
- Frangible Flange (52): A shearable plastic ring that holds the internal parts in place until the exact moment of firing.
- Safety Plungers (59): Spring-loaded pins that prevent the firing pins from accidentally hitting the primer due to bumps or drops during handling.
How the Apparatus Functions
The firing process is triggered by the torpedo’s electrical exploder circuit and follows a precise mechanical chain reaction:
| Step | Action | Purpose |
| 1. Impact | The torpedo strikes the target; the exploder closes an electrical circuit. | Initiates the signaling sequence upon a confirmed hit. |
| 2. Gun Firing | The initiator (22) in the gun barrel detonates. | High-pressure gas builds up behind the signal assembly. |
| 3. Shearing | The gas pressure shears the flange (56), driving the plug against the firing pins. | Unlocks the internal mechanism and ignites the delay element (62). |
| 4. Ejection | A preloaded spring (55) and gas pressure blow the signal out of the gun barrel. | Launches the signal into the open water, clear of the torpedo. |
| 5. Audible Blast | After a set delay, the sound charge (66) explodes in the water. | Produces a loud acoustic signal that submarine crews can hear clearly. |
Technical Components
- Explosive Fitting (16): A unitary assembly that contains the propellant. It is screwed into the gun using a spanner wrench just before the torpedo is launched.
- Lead Azide Sound Charge: The primary explosive used to generate the “audible explosion.” Lead azide is highly effective for creating sharp, loud acoustic waves underwater.
- Transparent Plastic Cover (41): Allows technicians to visually inspect the electrical terminals and ensure the device is properly armed before the torpedo is loaded into a tube.
- Frangible Retaining Washer (46): A sacrificial part that breaks during ejection, ensuring the signal assembly is held firmly in the barrel until the propellant ignites.
Historical and Military Impact
Francis E. Butler’s invention was a vital tool for Cold War-era naval development.
- Training Accuracy: It allowed sonar operators and submarine commanders to verify “kills” during simulated combat, improving the tactical proficiency of the fleet.
- Reliability: By operating at 500-foot depths, it met the requirements for deep-sea submarine maneuvers.
- Cost Efficiency: The reloadable gun design meant the Navy didn’t have to replace expensive exercise heads after every shot; they only needed to replace the inexpensive signal “slugs.”
About the Inventor: Francis E. Butler
Francis E. Butler was a scientist and engineer working for the Department of the Navy in Washington, D.C. His work specialized in the mechanics of underwater ballistics and acoustic signaling. Because the patent was “Granted under Title 35,” the U.S. Government held a royalty-free license to the technology, highlighting its importance to national defense and the development of the Navy’s torpedo program.
Summary of Claims
The patent explicitly claims:
- An audible noise generating means adapted to be ejected from a gun assembly via an electrical trigger.
- The use of a shearable member (frangible flange) to initiate the internal firing pins only when specific gas pressures are reached.
- A time-delay explosive mix that ensures the noise occurs after the signal has left the torpedo and the impact noise has faded.
- A preloaded spring system that facilitates the rapid ejection of the assembly from the torpedo’s skin.
