




Automatic Telephonic Message Recorder (Benjamin F. Thornton, No. 1,831,331)
This 1931 patent by Benjamin F. Thornton of Landover, Maryland, introduces one of the earliest conceptual precursors to the modern answering machine. While most telephones of the era required a live operator or the physical presence of the recipient, Thornton’s apparatus was designed to automatically answer a call, record a voice message onto a disc, and even stamp the exact time of the call onto a paper strip—all while the subscriber was away from their home or office.
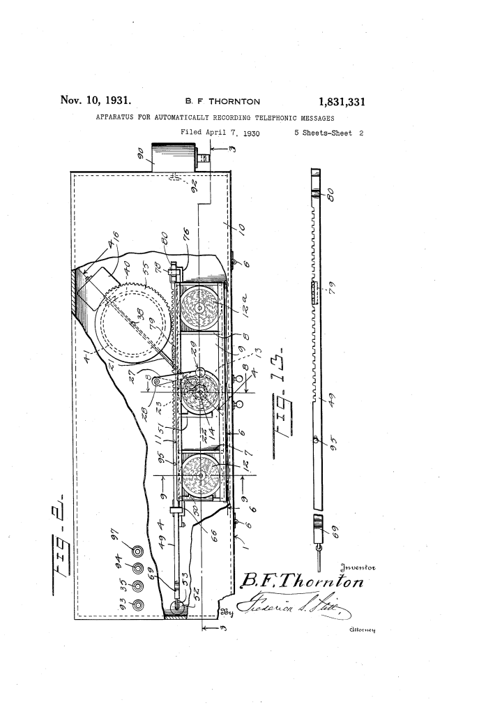
1. The Automatic Answering Mechanism
The device is integrated directly with the telephone line and a power source.
- Electromagnetic Switch (33): When a caller is connected by the central office, the electrical signal from the telephone line energizes a magnet (36). This closes the circuit to an electric motor (16), bringing the machine to life.
- Vertical Shaft and Cam (14, 26): During the initial phase, a cam raises the turn table (13) and the record disc. This movement pushes the disc upward until it makes contact with the recording stylus.
- Recording Mechanism (29): An electrically operated stylus (30) rests on the rotating disc. As the caller speaks, the vibrations from the telephone line are converted into physical grooves on the disc, capturing the audio.
2. The Disc Magazine and Changing System
To handle multiple callers, Thornton engineered a sophisticated automated “jukebox” style system for managing blank and recorded discs.
- Blank Magazine (7): Holds a stack of unrecorded discs on a platform (56) that moves upward by the thickness of one disc each time one is used.
- Recorded Magazine (8): Receives the finished discs. Its platform (70) moves downward to make room for new recordings.
- Rack Bar and Arms (49, 50, 51): Once a message is finished and the turn table lowers, a mechanical rack bar slides to the right. One arm pushes the recorded disc into the “finished” magazine, while another arm pulls a fresh blank disc from the storage magazine into the recording seat (11).
3. The Time-Stamping Clock
A unique feature of Thornton’s invention was the integration of a time clock (90) to provide metadata for the recordings.
- Automatic Logging: Each time the rack bar moves to change a disc, it strikes an actuating bar (92) on the clock.
- Paper Strip (91): The clock stamps the current time onto a strip of paper.
- Indexing: Because the stamps occur in the exact order that the discs are filed in the magazine, the subscriber can match the time-stamped paper sections to the corresponding discs to know exactly when each person called.
4. Dual Functionality: Outgoing Messages
Thornton also included a way for the subscriber to record their own greeting or messages for others.
- Microphone (47): By flipping a manual switch (97), the subscriber could disconnect the phone line and use a microphone to record a message onto a disc.
- Co-pending Application: This allowed the machine to be used in conjunction with Thornton’s other inventions for transmitting recorded messages back to callers, effectively creating a two-way automated communication system.
Technical Summary of Operation
| Phase | Action |
| I: Trigger | Central office connects; Electromagnetic switch (33) starts the motor. |
| II: Prep | Cam (26) lifts turn table; Stylus (30) engages the disc. |
| III: Record | Motor rotates the disc for a predetermined period while the message is etched. |
| IV: Reset | Turn table lowers; Rack bar (49) swaps discs; Clock (90) stamps the time. |
Historical Significance
Benjamin F. Thornton was an innovative inventor whose work paved the way for modern telecommunications. In a time when “missing a call” meant losing information forever, his machine provided:
- Independence from Operators: The machine could function without human intervention.
- Documentary Evidence: The combination of voice recording and time-stamping provided a verifiable record of communication.
- Automation: The use of magazines and mechanical arms demonstrated early 20th-century progress in automated consumer electronics.
