


Motorized Advertising Apparatus (Harry Jackson, No. 1,865,374)
Patented in 1932 by Harry Jackson, this invention is a complex mechanical billboard designed for the early era of mobile marketing. Intended to be mounted on the back of a truck, the device uses a single gasoline or electric motor to synchronize several different advertising displays: vertical scrolling plates on the sides and rear, and rotating vanes on the roof.
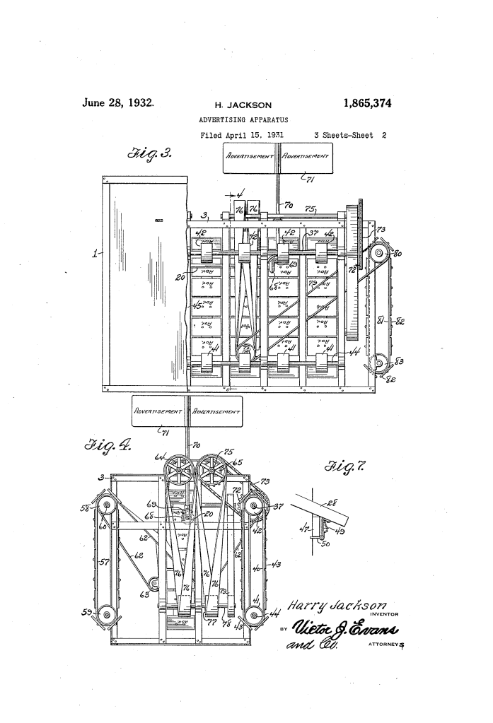
1. The Scrolling Sign Mechanism
The primary feature is a series of advertising plates (43) mounted on endless belts. These plates are viewed through windows (2) in the housing.
- Intermittent Motion: Unlike a conveyor that moves constantly, Jackson’s device is designed to “halt” each plate in front of the window for a predetermined time so it can be read.
- Synchronization: Through a combination of straight and twisted belts (62, 76, 79), the apparatus ensures that the signs on the left, right, and rear of the vehicle all move in the same direction and stop at the same time. This creates a unified display across the entire truck body.
2. The Walking Beam and Ratchet System
The “heart” of the intermittent timing mechanism is the walking beam (28). This is what transforms the continuous rotation of the motor into the “step-by-step” movement of the signs.
- The Pitman (27): A rod connected to an eccentric wheel (25) moves the walking beam up and down like a seesaw.
- The Ratchet and Dog (32, 33): As the walking beam moves, it pulls a rod (29) that operates a lever. This lever carries a “dog” (a spring-loaded latch) that engages a ratchet wheel (32).
- The Pause: Each stroke of the beam turns the ratchet wheel one “click,” advancing the sign plates by exactly one frame. While the beam is resetting for its next stroke, the signs remain perfectly still in the windows.
3. Roof-Mounted Advertising Vanes
To catch the eye of people in taller buildings or from a distance, Jackson added a secondary display on top of the unit.
- Vertical Shaft (70): A shaft extends through the roof of the casing.
- Rotating Vanes (71): This shaft supports four or more angularly arranged plates.
- Timed Rotation: Using bevel gears (68, 69) connected to the main internal shaft, the roof vanes rotate in sync with the scrolling side plates. When the side signs stop to be read, the roof vanes also pause in a display position.
4. Precision Alignment: The Cam and Cleat
Because vibrations from a moving truck could cause the signs to drift out of alignment, Jackson included a mechanical locking system.
- Cam Wheel (48): Mounted on the main drive shaft (37).
- Cleat (47): A pivoting arm that drops into a notch on the cam wheel.
- Locking Action: This cleat physically holds the signs in place during the “pause” phase. A latch finger (50) on the walking beam automatically lifts the cleat just before the next movement begins, allowing the signs to advance.
Technical Component Summary
| Component | Function |
| Walking Beam (28) | Converts continuous motor rotation into intermittent “step” motion. |
| Twisted Belts (76) | Change the direction of power to move signs on different faces of the casing. |
| Clutch Element (13) | Allows the operator to halt the signs without turning off the motor. |
| Ratchet Wheel (32) | Ensures the signs move in discrete increments rather than a slow crawl. |
| Belt Tightener (15) | Uses springs to maintain tension, preventing the signs from slipping as the belts age. |
Historical Context
In 1931, “mobile advertising” was a burgeoning industry. Jackson’s design was essentially a high-tech “spectacular” for the road. By automating the display and including the roof-mounted rotating vanes, he provided a way for a single truck to cycle through dozens of different advertisements, maximizing the revenue for the sign operator.
